Abbildung ähnlich
TECE

TECE Modulbefestigung TECEprofil für variable Eckmontage

TC9380003 9380003
auf Anfrage
je 1
keine Verfügbarkeitsinformationen

Folgeartikel

Dieser wird automatisch Ihrem Warenkorb hinzugefügt.

Verkaufsdaten

Mindestbestellmenge 1
Bestellschritt 1

Beschreibung

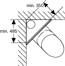
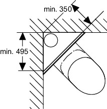
zur Eckbefestigung der TECEprofil-Module vor einer Baukörperecke, bei allen Modulen ist eine platzsparende Eckmontage mit der Unterbringung von Fall-, Lüftungs- oder Versorgungsleitungen hinter dem Modul möglich, bestehend aus 2 Wandbefestigungen zur Eckmontage mit variablem Winkel und Befestigungsmaterial für die Montage vor der Wand

Merkmale

Produktklasse Zusatzartikel
Serie TECEprofil
Modell 2009000070 0050
Internet Link https://produktdaten.tece.de/web/tece/de_DE/all/all/all/PR/9380003/keywords.xhtml
Werkstoff Stahl